
სამთავროს არქიტექტურული კომპლექსი (სამთავროს მონასტერი) მცხეთა-მთიანეთის მხარეში, მცხეთის მუნიციპალიტეტში, ქალაქ მცხეთაში მდებარეობს. ძეგლი რამდენიმე სამშენებლო ფენას მოიცავს. ისტორიული წყაროების მიხედვით, გარკვეული პერიოდი აქ, “მაყვლოვანში”, უცხოვრია ქართლის გამაქრისტიანებელს, წმ. ნინოს. ამ ადგილას პირველი ტაძარი მირიან მეფემ ააგო IV საუკუნეში: “და წარვიდა მირეან მეფე და ყოველი ერი, რამეთუ იქმოდეს ზემოსა ეკლესიასა ქვითა. და განიშორეს მეოთხესა წელსა” (მ. ქ., შატ. კრებ. 1955.); “იწყეს ხუროთა შენებად ეკლესიისა გარეგნივ ზღუდესა, მაყუალთა მათ ზედა, საყოფელსა წმიდისა ნინოსსა, სადა აწ არს ეკლესია საეპისკოპოსო” (ქ. ც. 1951.). მოქცევაი ქართლისაის სინური რედაქციის მიხედვით, განსხვავებით შატბერდულისგან, ეკლესიის მშენებლობა: “გაიშორეს მეოცესე წელსა” (მ. ქ. სინ 50. 2007.). მირიან მეფე და დედოფალი ნანა სამთავროს ტაძარში (ზემო ეკლესია) დაკრძალულან: “და აღესრულა მირიან მეფე, და დაეფლა ზემოსა ეკლესიასა, საშუალსა სვეტსა სამხრითსა, ჩრდილოთ-კერძო. და მას სვეტსა შინა არს ნაწილი ღმრთივაღმართებულისა მის სუეტისა. და მეორესა წელსა მოკუდა ნანა დედოფალი, და დაეფლა მასვე სუეტსა დასავალით, სადა მირიან მეფე დამარხულ იყო” (ქ.ც. 1951). სვეტიცხოვლი მირიანისეული ტაძრის დანგრევის შემდეგ, ვახტანგ გორგასლის მიერ ახალი ბაზილიკის აგებამდე, 420-480 წლებში სამთავრო ქართლის მთავარეპისკოპოსის კათედრას წარმოადგენდა. სამთავროშია დასაფლავებული ასევე ერთ-ერთი ასურელი მამა — აბიბოს ნეკრესელი. სამთავროს ტაძარში ჩატარებული არქეოლოგიური სამუშაოებისას გამოვლინდა ადრეული შუა საუკუნეების ბაზილიკა. გ. ყიფიანი მას მირიანისეულ ბაზილიკასთან აიგივებს, თუმცა ძეგლის აგების თარითან დაკავშირებით არსებობს განსხვავებული მოსაზრებებიც. ბაზილიკის ქვედა ფენაში გამოვლინდა ასევე წინარექრისტიანული წრიული ნაგებობის ნაშთიც. ადრეულ შუა საუკუნეებს მიეკუთვნება ასევე კომპლექსის მცირე ზომის გუმბათოვანი ეკლესია. სამთავროს გუმბათოვანი ტაძრის აგების შესახებ არანაირი წერილობითი წყარო არ მოიპოვება. სტილისტური ანალიზის საფუძველზე ის XI საუკუნის I ნახევრით თარიღდება. ნაგებობამ სხვადასხვა დროს ცვლილებები განიცადა. 1283 წელს მიწისძვრის შედეგად ჩამოინგრა გუმბათი და იგი ახლიდან ააშენეს XIII-XIV საუკუნეებში. ტაძარი კაპიტალურად შეაკეთეს XVII საუკუნის ბოლოს და XIX საუკუნეშიც. კომპლექსი მოიცავს ასევე არაუადრეს XVI საუკუნის სამრეკლოს და XVIII საუკუნის გალავნისგან შემორჩენილ კოშკს.
ძეგლის აღწერა
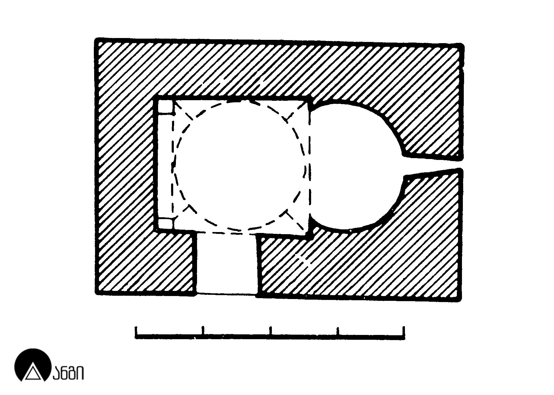
სამთავროს გუმბათოვანი ტაძარი დაშენებულია ადრეული შუა საუკუნეების ბაზილიკაზე, რომლის ნაშთები ნათლად განირჩევა ინტერიერის კედლის წყობაში. ბაზილიკის ჩრდილოეთ კედელი 4-4,5 მეტრის სიმაღლეზეა შემორჩენილი. სამთავროს ბაზილიკა სამნავიანი იყო. შესასვლელი ერთი იყო, დასავლეთიდან. ნავები ერთმანეთისგან სამი წყვილი გეგმაში მართკუთხა ბურჯით იყო გამოყოფილი. მთავარი ნავი აღმოსავლეთით სრულდებოდა შვერილი, ინტერღში ნახევარწრიული, ექსტერიერში კი წახნაგოვანი აფსიდით. აფსიდი ნაოსისგან გამოყოფილი იყო პილასტრებით. საკურთხევლის იატაკი, ნავის იატაკთან შედარებით, 25 სმ-ით იყო შემაღლებული. გვერდითა ნავების აღმოსავლეთით მოწყობილი იყო თითო სწორკუთხა სათავსი, რომლებიც შესაბამის ნავს კარის ღიობით უკავშირდებოდნენ. სათავსები და საკურთხევლის აფსიდი სწორკუთხედში ეწერება, თუმცა მათი მოხაზულობა ესტერიერშიც გამოვლენილია. საკურთხევლის ნაწილის ასეთი გადაწყვეტა საერთოს პოულობს სირიულ ბაზილიკებთან. ძეგლის თავისებურება იყო ასევე სამხრეთ-დასავლეთის წაკვეთილი კუთხე, რომელიც გუმბათოვან ტაძარშიც შენარჩუნდა. ბაზილიკის იატაკის დონეზე გამოვლენილი კედლის შელესილობის ფრაგმენტების მიხედვით, ეკლესიის კედლები წითლად ყოფილა შეღებილი.
სამთავროს წმინდა ნინოს ეკლესია მცირე ზომის გუმბათოვანი ნაგებობაა. იგი ადრეული შუა საუკუნეებით, სავარაუდოდ V-VI საუკუნეებით თარიღდება. სამლოცველო არაერთხელ შეუკეთებიათ და გადაუკეთებიათ. გუმბათის ყელი, სავარაუდოდ, IX საუკუნეში უნდა იყოს აღდგენილი. ეკლესიის შესასვლელის წარწერა გვამცნობს, რომ სამთავროს დედათა მონასტრის წინამძღვარს, ნინო ამილახვარს, შენობა 1879 წელს შეუკეთებია. ძეგლს რესტავრაცია ჩაუტარდა XX საუკუნეშიც. ეკლესია ნაგებია რიყისა და ზედაპირმოსწორებული ქვების შერეული წყობით. იგი გეგმით დარბაზულ ნაგებობას წარმოადგენს, რომელიც აღმოსავლეთით სწორკუთხედში ჩაწერილი ნალისებრი აფსიდით სრულდება. დარბაზი დაგვირგვინებულია ინტერიერში წრიული და ექსტერიერში რვაწახნაგა გუმბათით. კვადრატიდან გუმბათის წრეზე გადასვლა კუთხეებში ერთმანეთზე გადმოშვერილად დალაგებული ქვებით ხორციელდება. ექსტერიერში გუმბათის ყელს კვადრატი არ გააჩნია და უშუალოდ გადახურვებიდანაა ამოზიდული. ეკლესია ორი სარკმლით ნათდება, ერთი სარკმელი აფსიდშია გაჭრილი, მეორე კი — გუმბათის ყელის სამხრეთ წახნაგში. საკურთხეველში, სარკმლის ქვეშ, ტრაპეზის ქვა დგას. აფსიდის ჩრდილოეთ მონაკვეთში ნახევარწრიული ნიშაა. სატრიუმფო თაღი, კონსოლებზე დამყარებული დასავლეთის საბჯენი თაღი, შესასვლელის თაღი და სარკმლები ნახევარწრიული მოხაზულობისაა. ინტერიერი მოხატულია წმ. ნინოს ცხოვრების კომპოზიციებითა და სხვა სიუჟეტებით. მოხატულობა გვიანდელია.
სამთავროს მთავარი ტაძარი XI საუკუნის I ნახევრით თარიღდება და იგი ჩახაზული ჯვრის ტიპის გუმბათოვანი ნაგებობაა. სამთავროს ტაძარი არცთუ დახვეწილი პროპორციებისაა, ნაგებობის მტლიანობის აღქმას განსაკუთრებით უშლის ხელს მოგვიანებით აღდგენილი, მძიმე და ამორფული გუმბათი, თუმცა ის მრავალმხრივ საყურადღებო ძეგლია. იგი გეგმარების თვალსაზრისით ქართული არქიტექტურის ისტორიის ევოლუციის ერთ-ერთ საფეხურს წარმოადგენს, ასევე ორიგინალურ, ინდივიდუალურ გადაწყვეტას ვხედავთ მის საფასადო დეკორში, რომელიც ჩუქურთმათა შესრულების ხარისხითაც პირველხარისხოვან ნიმუშებს შორისაა. ეკლესია დაშენებულია ადრეული შუა საუკუნეების სამნავიან ბაზილიკაზე. მშენებლობისას ბაზილიკის კედლები არ მოუსწორებით, შემორჩენილი ნაშთების ნაწილი მშენებლობაში გამოუყენებიათ. შენარჩუნებულია ბაზილიკის სამხრეთ-დასავლეთ კუთხის წაკვეთილი მოხაზულობაც. სამხრეთის, ჩრდილოეთისა და დასავლეთის კედლები ბაზილიკის კედლებს მიჰყვება, აღმოსავლეთით კი ხუროთმოძღვარს შენობა მცირედით დაუგრძელებია, მას უფრო ღრმა, ბემით დაგრძელებული საკურთხევლის აფსიდი შეუქმნის. ეკლესია ნაგებია მოყვითალო-მოყავისფრო კარგად გათლილი კვადრებით. შესასვლელი ორია — სამხრეთიდან და დასავლეთიდან. ტაძრის გუმბათი ბემის შვერილებსა და დასავლეთის ორ ბურჯს ეყრდნობა. სამთავროში უკვე თავს იჩენს გეგმის დამოკლების ტენდენცია, რაც უკვე ბეთანია-ქვათახევის ჯგუფის ძეგლებში ჩამოყალიბებულ მოდელად იქცა. გუმბათი XIII-XIV საუკუნეებისაა. გუმბათქვეშა კვადრატიდან წრეზე გადასვლა აფრებით ხორციელდება. საკურთხევლის აფსიდი ნახევარწრიულია. აფსიდის კედლებში შვიდი თაღოვანი ნიშა იყო ჩამწკრივებული, რომლებიც გვიან შუა საუკუნეებში ამოულესავთ. საკურთხევლის ორივე მხარეს აფსიდალური პასტოფორიუმია მოწყობილი. დამხმარე სათავსები დასავლეთის კარის ღიობებით ტაძრის მთავას სივრცეს უკავშირდებიან, სამკვეთლო უკავშირდება ბემასაც. გუმბათქვეშა ბურჯების კაპიტელები, ბაზისები და საბჯენი თაღების საყრდენი კონსოლები პროფილირებულია. სამკვეთლოსა და სადიაკვნეს თავზე სამალავებია მოწყობილი. აფსიდში ერთი სარკმელია გაჭრილი, სამხრეთის, დასავლეთისა და ჩრდილოეთის კედლებში ორ-ორი, სარკმელია, შეწყვილებული სარკმლები. სამხრეთისა და დასავლეთის შეწყვილებულ სარკმლებს ინტერიერში ლილვები შემოუყვება. სავარაუდოდ, ასეთივე დეკორი უნდა ჰქონოდა ჩრდილოეთის სარკმლებსაც. გუმბათში ცამეტი სარკმელია. ტაძარს სამხრეთიდან აფსიდალური ეკვდერი ეკვრის, რომლის ორი მონაკვეთი ვარსკვლავისებური კამარებითაა გადახურული. დასავლეთის კამარა სადაა, აღმოსავლეთისა კი მოჩუქურთმებულია. ჩრდილოეთის მინაშენი და მასთან დამაკავშირებელი კარი გვიანდელია.
ტაძრის საკურთხეველსა და გუმბათში შემონახულია XVII საუკუნის მოხატულობის ფრაგმენტები. საკურთხევლის კონქის კომპოზიციის დიდი ნაწილი განადგურებულია, ჩანს ტახტის ნაწილი, მაცხოვრის ტერფები და ფეხსადგამი. მეორე რეგისტრში გამოსახულია მოციქულები, სარკმლის მარჯვნივ — წმ.პავლე. ქვედა რეგისტრში, სარკმლის სამხრ-ით შემორჩენილია მღვდელმოძღვართა რიგის მცირე ფრაგმენტი. სარკმლის თაღში გამოსახულია ექესფრთედი სამწერობლებით ხელში, სარკმლის სამხრ. წირთხლზე კი — ანგელოზი. ბემის სამხრეთ კედელზე გამოსახულია განრღვეულის განკურნება. ტაძრის გუმბათში, წრეში მოქცეული ქრისტეს გამოსახულების ფრაგმენტებია შემორჩენილი. წრის გარშემო, მედალიონებში მახარებელთა სიმბოლური გამოსახულებებია, მათ შორის კი — ექვსფრთედები. გუმბათის ყელის სარკმლებს ზემოთ გამოსახულია ანგელოზთა კრება. ქვემოთ, სარკმლებს შორის დატოვებული მონაკვეთები შევსებულია ორ რეგისტრად განლაგებული თორმეტი წინასწარმეტყველის ფიგურით და ცალკეული მცენარეული მოტივებით. გუმბათის ყელის ჩრდილო-დასავლეთ მხარეს გამოსახულია წინასწარმეტყველი მოსე. სარკმლების წირთხლები და თაღები შემკულია მცენარეული ორნამენტით. სარკმლებს ქვემოთ თორმეტი წინასწარმეტყველის წელზედა ფიგურაა გაშლილი გრაგნილებით ხელში, რომელთა შორის გამოსახულია ღვთისმშობელი ორანტას პოზაში. ტაძრის გუმბათის აფრებში მახარებლებია გამოსახული. მოხატულობის კოლორიტი აგებულია ყვითელ, მოწითალო-ყავისფერ, მღვრიე ცისფერ, მონაცროსფრო-თეთრ, ყავისფერ და მწვანე ტონებზე.
სამთავროს ტაძარი განსაკუთრებულ ყურადღებას იქცევს საფასადო დეკორით. მისი ჩუქურთმების შესრულება XI საუკუნის საუკეთესო ნიმუშთა შორისაა. აღმოსავლეთ ფასადის მორთულობაში პირვანდელია დეკორატიული თაღედი, ნიშები და სარკმელი მოჩუქურთმებული ჩარჩოთი და ჰორიზონტალურ გადანაკეცებიანი თავსართით. კეხის ვემოთ გამოკვეთილი ჯვარი, პასტოფორიუმების სარკმელთა მოცარჩოება, თაღების იმპოსტები და მარჯვენა ნიშის კონქი სხვადასხვა დროის აღდგენებს ეკუთვნის. აღმოსავლეთ ფასადისთვის დეკორატიული თაღედისა და ორი ნიშის კომპოზიცია ამ დროისთვის უკვე ტრადიციულია, თუმცა სამთავროში სხვა ძეგლთაგან განსხვავებული თაღების რიტმი და თანაფარდობა. აქ განაპირა ორი თაღი მკვეთრად ფერთოა, ვიდრე შუა სამითარი, როდესაც სხვა ძეგლებში (სვეტიცხოველი, სამთავისი) შუა თაღი ყველა დანარჩენზე უფრო მაღალი და განიერია. სამთავროში ცენტრალური თაღი მხოლოდ მცირედით მაღალია გვერდითა ორ თაღზე, რაც ნაკლებად ჰარმონიულ შთაბეჭდილებას ტოვებს, ვიდრე თაღების ნაპირებიდან ცენტრიკენ აღმავალი მოძრაობა. დასავლეთ ფასადი ძალიან სადაა. ფასადზე ერთადერთი დეკორატიული აქცენტი დიდ ლილვოვან თაღში მოქცეული შეწყვილებული სარკმლებია. ლილვები აჩარჩოებს უშუალოდ სარკმლებსაც. თაღშივე, სარკმლების თავზე ლილვითვე გამოყვანილი დისკოა მოთავსებული. დასავლეთის კარიბჭე გვიანდელია. გამორჩეულად საინტერესოა სამხრეთ და ჩრდილოეთ ფასადების მორთულობა. სამხრეთ ფასადის რთული დეკორაციული კომპოზიცია სამთაღედითაა შემოფარგლული. შუა, მაღალი ფართო, თაღშია მოქცეული მდიდრულად მოჩუქურთმებული თაღოვანი საპირეებით მოჩარჩოებული შეწყვილებული სარკმლები. საპირეებსა და გარეთა ჩარჩოს შორის დარჩენილი არე ერთი დიდი და ორი მცირე ორნამენტული დისკოთია შევსებული. შუა თაღს ორივე მხრიდან უფრო ვიწრო და დაბალი თაღოვანი არეები ებმის. ორივე არე ნიშოვანია და თითოეულში სამ-სამი წვრილი, გრეხილით მოჩარჩოებული, ნიშისებრი ღარია. ამ წვრილი ნიშების თავზე, ბამაერთიანებელი თაღის ქვეშ, ჩუქურთმიანი ზოლია (შემორჩენილი აქვს მხოლოდ აღმოსავლეთ ნიშს). ყველა მომაჩარჩოებელი ზოლი გრეხილი ლილვებითაა შედგენილი. ჩუქურთმით დაფარული საპირეების მკვეთრად ამობურცულია ზედაპირების და განაპირა ნიშების რთული შეზნექილი ზედაპირების პლასტიკური დამუშავება ფასადს შუქ-ჩრდილის დაპირისპირებით ძლიერ დინამიურობას სძენს. ჩრდილოეთ ფასადზეც შეწყვილებული სარკმლების გარშემოა თავმოყრილი მთელი დეკორაციული კომპოზიცია. სარკმლები სწორკუთხა, მოჩუქურთმებულ საპირეებშია ჩასმული. ორივე სარკმელი აქაც ერთიან თაღოვან ჩარჩოშია მოქცეული. თაღის ორივე მხარეს ლილვებისგან ძალიან დინამიკური ნახატი შექმნილი, სადაც ერთმანეთს ენაცვლება შვეული, რკალისებრი, ირიბი ხაზები, წვეტიანი კუთხეები. სარკმლების გარშემო არე მთლიანად ჩუქურთმითაა შევსებული, საპირეების თავზე, ტიმპანისებრ არეში, სტილიზებული ფოთლების ორნამენტული კომპოზიციაა, რომელიც დანარჩენ ჩუქურთმებზე მეტად ღრმა კვეთითაა შესრულებული. რაკი ჩრდილოეთ ფასადი ჩრდილშია, ხაზოვანი დინამიკა გამოიყენა და არა — შუქ-ჩრდილის კონტრასტზე აგებული კომპოზიცია. თუმცა მან ასევე ფერადოვან ეფექტიც გამოიყენა, სარკმლების ორივე მხარეს, ლილვებით შემოხაზულ წრიულ არეებში ჩასმულია ღია მწვანე ფერის თითო მედალიონია ჩასმული, რომლებიც ძალიან ფაქიზი და განსხვავებული სახეებითაა შემკული.
სამრეკლო XV-XVI საუკუნეებით თარიღდება. იგი სამსართულიანია, ნაგებია კარგად გათლილ მოყვითალო-მონაცრისფრო ქვიშაქვის კვადრატებით. პირველი სართული კუბურ მოცულობას წარმოადგენს, რომლის ჩრდილოეთ ფასადი გალავნის კედელშია ჩართული და სამხრეთით ფართო თაღოვანი შესასვლელი აქვს. მეორე სართულიც სწორკუთხაა და სამი მხრიდან ორმაგი თაღებითაა გახსნილი. შესასვლელი დასავლეთის ყრუ კედელშია გაჭრილი და მიშენებული აქვს მაღალი ქვის კიბე. მეორე სართულის კამარის დასავლეთ მონაკვეთში მომრგვალებული ხვრელია გაჭრილი, საიდანაც მისადგმელი კიბით აგურით ნაგებ, გეგმაში წრიულ, ფანჩატურში შეიძლება ასვლა.
იხილეთ სამნავიანი ბაზილიკები ⇒
იხილეთ ჩახაზული ჯვრის ტიპის ტაძრები ⇒
იხილეთ გუმბათინი დარბაზის ტიპის ეკლესიები ⇒
ავტორი: თამთა დოლიძე.
გამოყენებული ლიტერატურა:
- ბერიძე, ვ. ქართული ხუროთმოძღვრების ისტორია, ტომი I, II. თბილისი, 2014. (მიჰყევით ბმულებს: ტომი I, ტომი II).
- ბერიძე, ვ. ძველი ქართული ხუროთმოძღვრება. თბილისი, 1974. (მიჰყევით ბმულს).
- ზაქარაია, პ. XI-XVIII საუკუნეების ქართული ცენტრალურ-გუმბათოვანი არქიტექტურა: XI-XII სს. თბილისი, 1975.
- მოქცევაჲ ქართლისაჲ: ახლადაღმოჩენილი სინური რედაქციები. რედ.: ზაზა ალექსიძე. თბილისი, 2007. (მიჰყევით ბმულს).
- მჭედლიშვილი, ბ. “ზოგიერთი საკითხი სამთავროს ეკლესიის შესახებ”. ძეგლის მეგობარი N67. 1984. (მიჰყევით ბმულს).
- საქართველოს ისტორიისა და კულტურის ძეგლთა აღწერილობა, ტომი V. თბილისი, 1990.
- ქართლის ცხოვრება, ტომი I, რედ.: სიმონ ყაუხჩიშვილი, თბილისი, 1955. (მიჰყევით ბმულს).
- ყიფიანი, გ. „მეფე მირიანის ბაზილიკა“. ბიზანტიოლოგია საქართველოში-2. თბილისი, 2009. (მიჰყევით ბმულს).
- შატბერდის კრებული, რედ.: ბ. გიგინეიშვილი, ელ. გიუნაშვილი, თბილისი, 1979. (მიჰყევით ბმულს).
- ციციშვილი, ირ. ქართული ხელოვნების ისტორია. თბილისი, 1995. (მიჰყევით ბმულს).
- ხოშტარია, დ. „მცხეთის ადრექრისტიანული ეკლესიები“, ქრისტიანული დემოკრატია N1. 113-128. 2000.
რესურსები ინტერნეტში:
- სამთავრო (მცხეთა). ძეგლის ბიბლიოგრაფია. nplg.gov.ge ⇒
- სამთავროს კომპლექსი. memkvidreoba.gov.ge ⇒
- სამთავროს კომპლექსი. dzeglebi.ge ⇒
- სამთავროს ტაძარი. saunje.ge ⇒
- სამთავროს წმიდა ნინოს დედათა მონასტერი. novators.ge ⇒
- სამთავროს მონასტერი. ka.wikipedia.org ⇒























